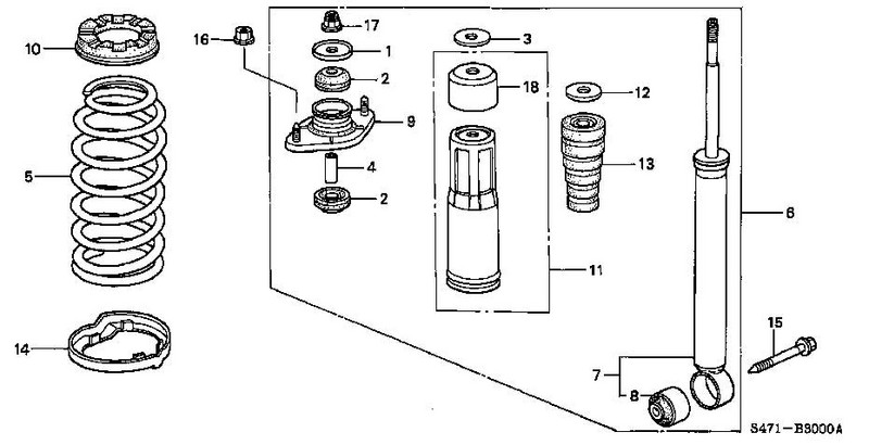
B29-20 52622-SP0-003 ブツシユ,リヤーダンパーロアー 1050円 2個
(ボロボロになったゴムブッシュ)
B29-32 90174-SP0-003 ボルト,ダンパーロツク 12X88 330円 4個
(リアの足回りのボルト2本 B30-15と同じ)
B29

B30-14 52748-SX0-010 シート,リヤースプリングロアー 300円 2個
(リアスプリングの下に敷くプラスチックシート)
B30